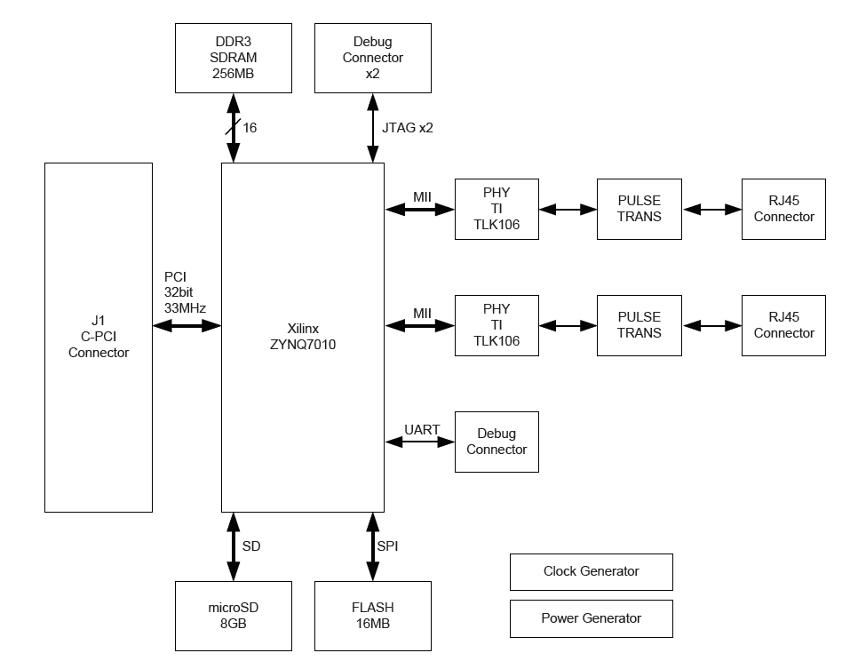
A3pci1571は、EtherCAT®マスタ通信機能を持つ3UシングルサイズのCompactPCI®ボードです。
CPUは、Xilinx®Zynq®に搭載されているARM® Cortex®-A9を使用しており、インテリジェントタイプのCompactPCI®バススレーブボードとして機能します。
EtherCAT®マスタプロトコルスタックは、acontis technologiesの「EC Master」を搭載しておりClassA準拠。Feature Packとしてケーブル冗長性、ホットコネクトにも対応しています。
本ボードは、CompactPCI®バスマスタ(ホストCPU)によって制御されます。データの受渡しには本ボードに搭載しているシェアードメモリを介して行います。
インテリジェントスレーブとして機能しますので、ホストCPUに負荷をかけることなく、EtherCAT®マスタ通信を実現できます。