AdiNS1576

Multipurpose EtherCAT® Slave Module

カテゴリー: タグ: , , , ,

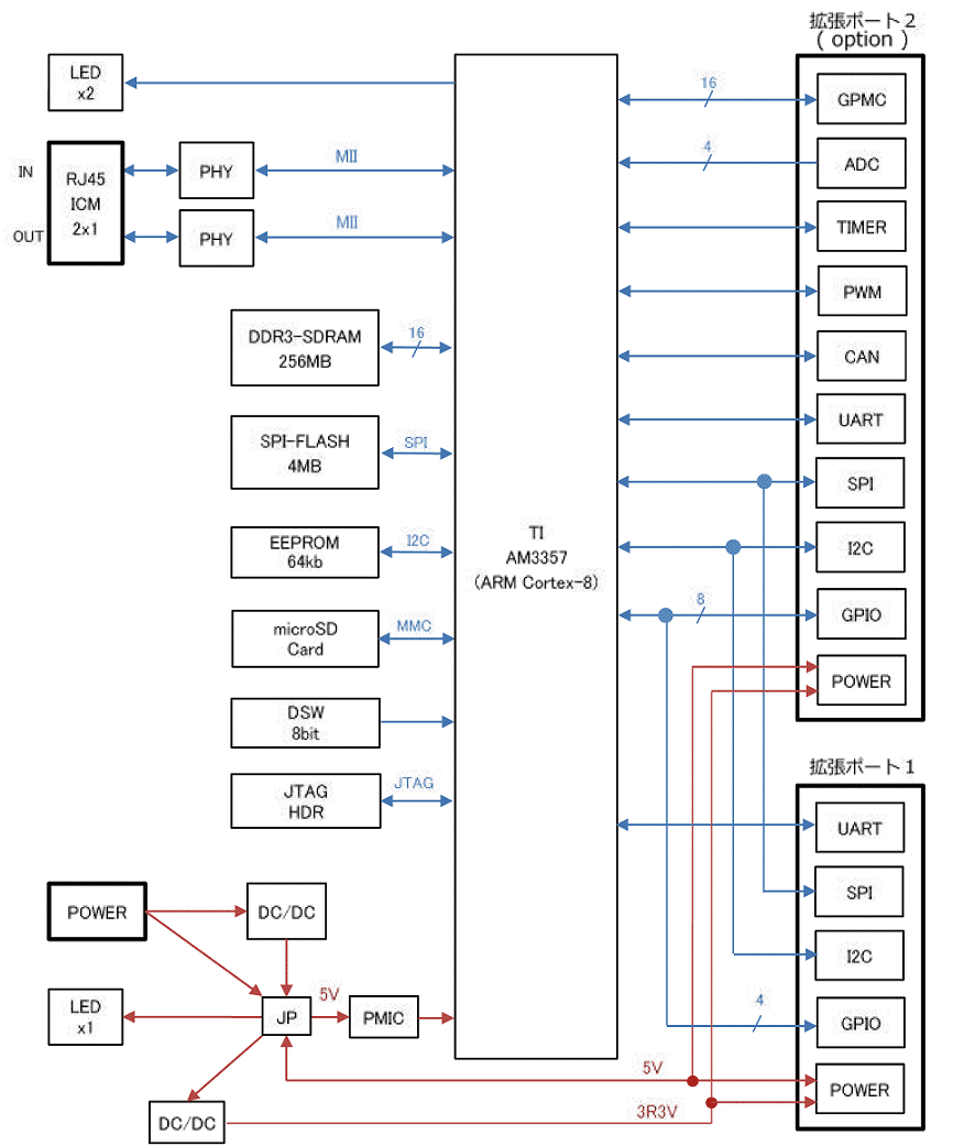
AdiNS1576は、TI社製ARM® Cortex®-A8搭載 Sitara AM3357プロセッサにEtherCAT®スレーブスタックを実装したEtherCAT®スレーブボードです。

 

汎用性の高い拡張ポートを複数備えており、I/Oボードや各種センサ類と接続することが可能です。このため、複雑なニーズに最適化されたデバイスを短期間で構築いただけます。

 

また、AdiNS1576を既存の装置や設備に導入することで、EtherCAT®通信に対応させることが可能です。ご要求に応じたファームウェアのカスタマイズ、センサ基板の開発、筐体や他の基板と組み合わせたシステム設計などをプロフェッショナルサービスとしてご提供しており、お客様の開発期間短縮にご活用いただけます。

  • TI社製 Sitara AM3357プロセッサ搭載 (ARM® Cortex®-A8 single core)
  • EtherCAT®スレーブ
  • 拡張ポートとしてSPI、I2C、UART、GPIOなどを装備
  • 高い接続性 2.54mmピッチコネクタ、及び HIROSE社製FX20コネクタ (オプション)
  • ワイド入力電源に対応 DC5V±5%、またはDC15~40V (オプション)
  • 小型 70mm × 75mm
カスタム製品にご興味のある方は問い合わせください。